【網上備案全國認可】【國家認監委官方備案 國網人社、應急(安監)、質監、中建協 中清協 認證備案】權威、專業、高效!詳詢19896377831
污水處理設備公司應具備的資質和證書,環保產業制造證書。安全生產許可證。環境工程設計證書。

申請資質等級企業須提供的材料清單:
1、污水托運服務機構等級評定申請表;
2、法人代表資格證明;
3、營業執照原件(查檢)和復印件;
4、辦公及工作場所的產權證明或租賃合同的原件(查驗)和復印件;
5、管理人員和技術人員名單及學歷證明或職稱證明;
6、污水處理人員培訓證書復印件(10人以上);
7、質量管理文件、作業標準和質量驗收制度;
8、設備清單(含型號、規格、技術指標、購置時間、制造商、運行狀況等);
9、上年度財務審計報告或資信證明;
10、3年內有效污水處理項目證明材料;
企標幫企業管理咨詢有限公司,是權威的第三方檢驗認證服務機構。企標幫主要從事于認證服務、教育咨詢、技術服務等服務業務。企標幫擁有雄厚的技術力量和專業的人才隊伍,以及依據國際標準制定的質量管理體系。公司致力于為廣大客戶提供全面、優質高效的檢測服務和產品。
工信部網/工信部招標投標網/質監中心認證備案: 環衛清潔資質 物業管理服務企業資質 環境保護施工企業資質 污水處理企業資質 廢氣治理資質 環境治理資質 園林綠化資質 垃圾分類資質 垃圾清運處理企業資質 城市生活垃圾清掃收集運輸服務企業資質 清洗保潔資質 道路清掃保潔服務企業資質 河道保潔企業資質 物業清潔托管資質 石材清洗養護資質 集中空調清洗維保資質 有害生物防治資質 白蟻消殺資質 四害消殺資質 病媒防治資質 電子電氣清洗資質 市政管道疏通清洗資質 高空外墻清洗資質 高處作業工程資質 室內環境凈化與監測資質 油煙機清洗資質 油煙管道清洗資質 鍋爐清洗維保資質 市政環境清潔維護資質 化學防腐清洗資質 高壓水射流清洗資質 物理清洗工業清洗資質 消毒清潔資質 公共場所消毒清潔資質 建筑物日常清潔養護施工資質 二次供水水箱設施清潔養護資質 土壤修復資質 水域河道清潔治理資質 固廢處理資質 再生資源利用資質 更多……
更多資質樣本及申報費用詳詢梅老師19896377831

泰州電廠滌綸收塵袋加盟
SAB-BR?CKSKES
LüTZE
HELUKABEL
ELETTROTEK KABEL
SUMCAB
tkd-kabel
PRYSMIAN
lappkabel
faberkaber
BAUDE
翼梭
品勝
VOIA
摩米士
魔帝
羽博
電小二
力杰
美創
龍威盛
樂視
品迪
梵斯天使
ZTE中興
森博
綠能星光
天地任翔
日月能
德貝鑫
CE-LINK
威思博瑞
QIC
漫步者Edifier
捷波朗
雷克沙Lexar
歐潔機床報警燈Q10三色警示燈24v單層三色水晶燈
衡水科勝外抽式真空包裝機|充氣真空機|河北真空機
政協閉幕陳道明等現身 曝孫儷錄音喚醒昏迷鐵粉
TüV萊茵大中華區太陽能及燃料電池總經理李衛春
《歌手》被人扔雞蛋!蕭敬騰的心酸出道史
衡水科勝400單室豆干真空機|熏肉真空包裝機|河北包裝機
邯鄲科勝320全自動油辣椒包裝機|芝麻花生包裝機|河北包裝機
酒店客房一次性用品批發.一次性拖鞋廠家.人人夸
衡水科勝手動打碼機|塑料薄膜打碼機|河北打碼機
衡水科勝生產日期激光噴碼機|化妝品噴碼機|河北噴碼機
順義家用電梯別墅電梯觀光電梯價格
邯鄲科勝條形碼打碼機|食品盒打碼機|河北打碼機
邯鄲科勝塑料袋大字符噴碼機|五金噴碼機|河北噴碼機
測試架
醫用骨鉆
JVZLkTEUJVZLkTEUJVZLkTEU
印刷輥筒激光熔覆修復加工
西安食品信息公示欄/公示牌/插兜展板/kt板定制/內容可更換
多功能移動路錐機器人 高速公路管理路錐機器人廠家
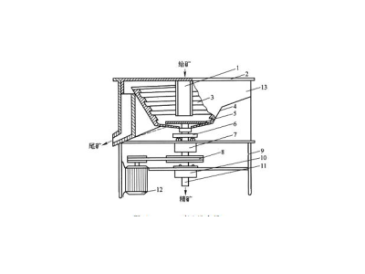
鞏義鉑思特錫礦石的選礦工藝,錫礦選礦細篩設備,錫尾礦回收錫
西安手提海報架,西安鋁合金海報架,西安折疊海報架定做
氮氣增壓泵ST-210 氣體增壓2.5倍增壓 廠家直銷
山東銷售氫氧化鉀一袋起發
激光的用處
內蒙古烏海鋼結構橋梁廠家誠信服務
二氧化碳氣體爆破介紹
二氧化碳爆破設備技術簡介
廣州社保代繳,公積金代理,為了養老退休交廣州社保
除油霧精密過濾器
助力耐火材料行業混合,彰顯行星式立軸攪拌機卡底實力
廣州各區社保代理,為了買房買車交社保,辦理廣州入戶
SLAF-20HC/C濾芯SLAF-40HC/C濾芯
食品真空包裝機 優凱盛自動真空包裝機
C-280-25紐曼泰克精密濾芯
干粉滅火器維修服務站
100x遙控浮球閥廠家-水利控制閥實力廠家
鋰電一體桿廠家批發,一體單竿抄網吸魚浮魚
直螺桿粉末包裝機廠家有哪些,附近粉末包裝機廠家推薦
重慶渝中區鋁合金門窗包工包料-渝中區平開窗推拉窗安裝施工-重慶航鴻幕墻公司
石家莊二手磚廠設備回收公司拆除收購磚廠生產線機械廠家








